Indeks: 1962

Trawers do wózka widłowego M-2011-141
- Trawers jest przeznaczona do współpracy z widłami wózka widłowego i służy do transportu ładunków podwieszonych do jej haka
- Spełnia przepisy dyrektywy maszynowej: 2006/42/WE
- Wykonany wg zharmonizowanej normy: PN-EN 13155
Cechowany: znak wytwórcy, znak CE, nr fabryczny, rok produkcji.

| DOR [kg] |
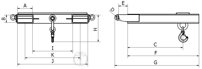
Wymiary [mm] |
Masa [kg] |
||||||||||
| A | B | C | D | E | F | G | H | I | J | K | ||
| 8 000 | 164 | 84 | 600 | Ø24 | 98 | 775 | 915 | 415 | 436 | 764 | 600 | 85 |
Dodatkowe informacje
1962
Trawers do wózka widłowego M-2011-141
- Trawers jest przeznaczona do współpracy z widłami wózka widłowego i służy do transportu ładunków podwieszonych do jej haka
- Spełnia przepisy dyrektywy maszynowej: 2006/42/WE
- Wykonany wg zharmonizowanej normy: PN-EN 13155
Cechowany: znak wytwórcy, znak CE, nr fabryczny, rok produkcji.

| DOR [kg] |
Wymiary [mm] |
Masa [kg] |
||||||||||
| A | B | C | D | E | F | G | H | I | J | K | ||
| 8 000 | 164 | 84 | 600 | Ø24 | 98 | 775 | 915 | 415 | 436 | 764 | 600 | 85 |
Dodatkowe informacje
1962
W tej samej kategorii
Uchwyt do pakietu blach z regulacją wysokości DE-G
Udźwig: od 2000 do 12 000 kg/parę
Zakres chwytania: od 0 do 300 mm

![]()
Wciągnik łańcuchowy dźwigniowy MKS
Udźwig: od 750 do 9000 kg
![]()
![]()

Poręcz do maty pomostowej GU GUP
Długość: 1155 mm
Wysokość: 1100 mm





